
Снегоход из бензопилы своими руками
Содержание:
С началом зимы, особенно снежной, появляются проблемы, связанные с передвижением. Мало кто знает, что из подручных средств можно сконструировать снегоход, как альтернативное средство передвижения в зимних условиях.
При этом, нет необходимости в серьезных затратах. Тем более, что при наличии большого количества снега на автомобиле далеко не уедешь, а вот снегоход позволит передвигаться в подобных условиях без особых проблем.
Самодельный снегоход из бензопилы
Сборка любой конструкции начинается с разработки чертежей. На них можно разместить все необходимые агрегаты, после чего можно приступать к практическому осуществлению идеи. Поэтому, на этом этапе следует определиться с тем, бензопила какой марки подходит для реализации задуманного.
Выбор бензопилы
В торговых точках можно встретить несколько моделей бензопил. Наиболее популярные из них, это бензопила «Дружба», бензопила «Урал» и бензопила «Штиль». Прежде, чем выбрать, следует хорошо подумать, сопоставив их технические характеристики.
Бензопила «Дружба»
Это самая простая бензопила, которая может быть использована в качестве движка на снегоход. В итоге получается элементарная конструкция без ничего лишнего.
Единственный недостаток – это большой вес при сравнительно малой мощности. Кроме этого, на конструкции отсутствуют детали для крепления кожухов безопасности. К тому же эта конструкция устарела по всем показателям.
Технические характеристики:
- Мощность – 1 кВт;
- Вес – 12 кг;
- Двигатель (двухтактный);
- Длина шины – 45 см;
- Топливо (бензин).
Бензопила «Урал»
Это специализированная модель, имеющая большую надежность, мощность и меньший вес, по отношению к мощности. Это экологически чистый агрегат, способный работать в экстремальных условиях.
Если решено использовать бензопилу «Урал», то это хороший выбор. Ее технические характеристики полностью соответствуют, заявленным.
Технические характеристики.
- Мощность – 3,68 кВт;
- Вес – 11,7 кг;
- Двигатель (бензиновый двухтактный);
- Габаритные размеры – 46х88х46 см;
Бензопила «Штиль»
Она так же подойдет для создания снегохода своими руками. Это экологически чистый аппарат, абсолютно безвредный для человека. Основное достоинство бензопилы – это малый вес и бесшумность в работе, по сравнению с бензопилой «Урал», а тем более, если сравнить с бензопилой «Дружба».
Схема изготовления снегоход из бензопилы Урал своими руками
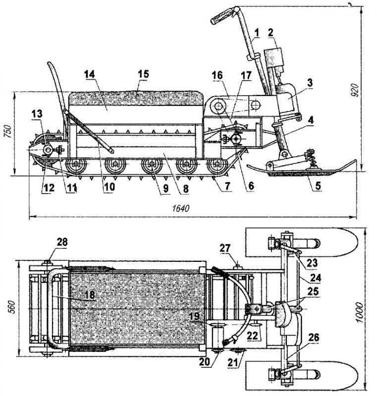
Схемы сборки снегохода из бензопилы «Урал»: 1 – руль; 2 – топливный бак (от бензопилы «Дружба»; 3 – силовой агрегат (от бензопилы «Урал»); 4 – втулка стойки рулевой лыжи (труба диаметром 30-2 шт.); 5 – рулевая лыжа (2 шт.); 6 – приводное зубчатое колесо гусеницы (капрон, лист s15, 2 шт.); 7 – гусеница (от снегохода «Буран», укороченная); 8 – рама; 9 – опорный каток (от картофельной сортировки, 18 шт.); 10 – подкос спинки-ограничителя (труба ½); 11 – натяжное устройство гусеницы (2 шт.); 12 – натяжное зубчатое колесо гусеницы (капрон, лист s15, 2 шт.); 13 – подшипник №80204 в корпусе (4 шт.); 14 – короб-багажник дно-фанера s4, борта доска s20); 15 – сидение (крышка-фанера s4, поролон, кожзаменитель); 16 – 1-я ступень цепной передачи; 17 – 2-я ступень цепной передачи; 18 – спинка-ограничитель сидения (труба ½ дюйма); 19 – ведомая звездочка 1-й цепной передачи (большая звездочка ходоуменьшителя, промежуточного вала); z=38; 20 – ведущая звездочка 2-й ступени цепной передачи (малая звездочка ходоуменьшителя), z10; 21 – ведомая звездочка 2-й степени цепной передачи (приводная звездочка ведущего вала гусеницы), z18; 22 – ведущая звездочка 1-й ступени цепной передачи (звездочка выходного вала редуктора), z12; 23 – рычаг поворотного кулака; 24 – рулевая тяга (2 шт.); 25 – рулевой вал с сошкой; 26 – балка переднего моста (труба диаметром 30); 27 – приводной вал гусеницы; 28 – натяжная ось гусеницы.
Без создания схемы и чертежа вряд ли удастся соединить вместе основные агрегаты конструкции, такие как:
- Двигатель;
- Трансмиссию;
- Лыжи и гусеницы.
Чтобы упростить процесс конструирования, следует взять гусеницу от вездехода «Буран». Если конструируется детский вариант, то достаточно будет и лыж.
Стойки
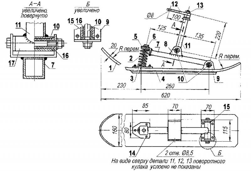
Рулевая лыжа: 1 – полоз (капрон, лист s20, от детского снегоката); 2 – пружина (нормально растянутая, от заднего амортизатора мопеда); 3 – опорный подпятник пружины; 4 – подрез (дюралюминиевый уголок 20х20); 5 – крышка пружины (уголок 35х35); 6 – крепление пружины к крышке (болт М8 с шайбой); 7 – опорный рычаг (труба 30х30); 8 – пружина крепления стойки – вилки к рычагу лыжи (сталь, лист s2); 9 – пружина крепления опорного рычага к лыже (сталь, лист s2); 10 – оси (болт М8, 2 шт.); 11 – стойка поворотного кулака (велосипедная рулевая стойка с коронкой и частью вилки); 12 – рулевая сошка (сталь, лист s4); 13 – крепление рулевой сошки (типа М16); 14 – крепление подпятника пружины и пружины рычага к лыже (болт М5 с потайной головкой, 7 шт.); 15 – втулка рычага (стальная труба диаметром 30 мм); 16 – подшипник скольжения (капроновая втулка, 2 шт.); 17 – втулка стойки (стальная труба диаметром 30 мм). На виде сверху детали 11, 12, 13 поворотного кулака условно не показаны.
Стойки снегохода могут быть сделаны из уголков 3х3 см. Соединяются они между собой стальными перемычками. В результате имеется сравнительно не большой портал. Чтобы создать площадку, нужно взять лист, толщиной 2 мм и соединить его с порталом и серединой правой стороны элементов транспортного средства. Эта площадка послужит местом крепления редуктора бензопилы и вала цепной передачи.
На части заднего портала и середине снегохода следует сформировать не большое место, для конструкции сидения.
Передняя часть рамы и траверса переднего моста соединяются посредством балки. В качестве балки выступает обычная водопроводная труба, диаметром 1,5 см. На конце этой трубы, с помощью сварки крепятся втулки рулевых лыж, а по центру, устанавливается стойка. Стойка будет служить опорой для моторного подрамника.
Особое внимание следует уделить точкам крепления стоек. Для большей надежности, точки крепления усиливаются стальными косынками, толщиной 2 мм. Этот подход усилит транспортное средство и сделает его более надежным и долговечным.
Гусеница
Каркас снегохода с гусеничным блоком: 1 – задняя часть лонжерона (стальной лист s2, с отбортовками, 2 шт.); 2 – натяжное устройство (4 шт.); 3 – задний портал (уголок 30х30); 4 – средняя часть лонжерона (уголок 50х63, 2 шт.); 5 – кронштейн-вилка установки оси опорных катков (стальной лист s2, 10 шт.); 6 – средний портал (уголок 30х30); 7 – площадка для крепления редуктора силового агрегата и промежуточного вала-ходоуменьшителя (стальной лист s2); 8 – косынки (стальной лист s2, 4 шт.); 9 – передний портал (уголок 30х30); 10 – передняя составная часть лонжерона (стальной лист s2 с отбортовками); 11 – ось натяжных зубчатых колес; 12 – натяжное зубчатое колесо гусеницы (2 шт.); 13 – ось опорных катков (сталь, круг 10, 5 шт.); 14 – крепление оси (гайка М10 и пружинная шайба, 20 шт.); 15 – дистанционная втулка (дюралевая труба); 16 – каток (18 шт.); 17 – подшипниковый узел (4 шт.); 18 – приводное зубчатое колесо гусеницы (2 шт.); 19 – приводной вал гусеницы; 20 – приводная звездочка ведущего вала (ведомая звездочка 2-й степени цепной передачи), z=18; 21 – втулка поворотного кулака рулевой лыжи (труба диаметром 30 мм, 2 шт.); 22 – балка переднего моста (труба диаметром 30 мм); 23 – косынки, 4 шт.; 24 – подмоторная стойка (труба диаметром 30 мм); 25 – бандаж катка (резиновое кольцо, 18 шт.).
Для сборки мини-версии снегохода можно взять гусеницы от старого «Бурана» и дорабатывать ее, укоротив почти на целый метр. Зубчатые колеса можно выполнить из листа капрона, толщиной 1,5 см.
Приводной вал
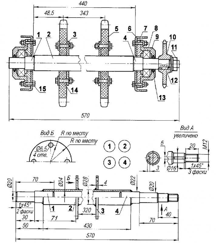
Приводной вал гусеницы (натяжной вал такой же, только поз.4, заменена на позицию 1): 1 – левый (по ходу) наконечник (сталь, цилиндр 22); 2 – вал (стальная труба 0,28х20; 3 – фланец крепления зубчатого колеса к валу (стальной лист s4, 2 шт.); 4 – правый (по ходу) наконечник вала (сталь, цилиндр 29); 5 – зубчатое колесо привода гусеницы (2 шт.); 6 – лонжерон рамы, 2 шт.); 7 – крышка корпуса подшипника (сталь, 2 шт.); 8 – подшипник 80204 (2 шт.); 9 – корпус подшипника (сталь, 2 шт.); 10 – приводная звездочка вала; 11 – крепление звездочки к валу (гайка М12 с широкой и пружинной шайбами); 12 – шпонка (сталь 20); 13 – уплотнение (фетр, 2 шт.); 14 – крепление корпуса подшипника к лонжерону (болт М6, с гровером 4 комплекта); 15 – крепление корпуса подшипника к лонжерону (болт М6 с пружинной шайбой, 4 компл.).
Приводной вал сделан из стальной трубы, диаметром 1,4 см. К валу крепятся специальные фланцы, к которым присоединяются зубчатые колеса. На конце приводного вала, посредством сварки, монтируются наконечники-цапфы. На цапфах должно быть предусмотрено место для установки подшипников.
Двигатель
Этот агрегат считается самым ответственным механизмом снегохода. По сравнению с другими элементами конструкции, такими, как шина или цепь, двигатель должен работать исправно и без него снегоход даже с места не сдвинется. Поэтому, длительная работоспособность устройства будет зависеть от надежной и безотказной работы движка. Если хочется установить двигатель от бензопилы, импортного производства, то можно приобрести б/у «Штиль».
Еще одним по значимости элементом конструкции, от которого зависит безотказная работа снегохода, считается редуктор.
Звездочки
Сразу же бросается в глаза тот факт, что правый наконечник имеет шпоночный паз для установки и крепления звездочки цепной передачи. Это и есть звездочка вала гусеницы, которая надежно крепится с помощью гайки. Чтобы крепление было возможным, на наконечнике нарезается соответствующая резьба.
Наконечник натяжного вала имеет такие же габаритные размеры, а крепление элементов конструкции осуществляется аналогично креплению звездочки вала гусеницы.
На первой ступени передачи должна находиться звездочка с наибольшим передаточным числом (количеством зубьев). На двигателе бензопилы «Урал» можно насчитать 38 зубьев.
Рулевое управление
На самодельном устройстве можно установить руль любой конструкции и даже от велосипеда. В данном случае, очень важно вывести на руль ручное управление оборотами двигателя. Чтобы сильно не заморачиваться, лучше использовать руль от мопеда, мотороллера и т.д., где уже предусмотрен механизм управления мощностью двигателя. Это позволит сделать конструкцию более надежной и удобной в управлении.
Тормозная система
Обычно, такое транспортное средство не имеет тормозной системы, да и она не обязательна, поскольку снегоход не развивает больших скоростей, тем более самодельный. Хотя, если серьезно подойти к данной проблеме, то можно соорудить примитивное тормозное устройство.
Советы по применению
Сразу же стоит обратить внимание, что самодельную конструкцию, чтобы она из себя ни представляла, вряд ли удастся зарегистрировать (узаконить) в соответствующих органах. А поэтому:
- Согласно закона, самодельный снегоход не относится к категории транспортных средств. Поэтому, дальнейшее его применение, а также ответственность за последствия ложатся исключительно на того человека, который его сделал. Лучше, если он будет эксплуатироваться где-то в глубинке и не попадаться на глаза соответствующих служб.
- Снегоход и плавающий вездеход – это абсолютно разные аппараты, хотя и имеют определенное сходство.
- Так как двигатель имеет маленькую мощность, то перевозить этим транспортным средством грузы не желательно. Лучше передвигаться на нем одному.
- Для передвижения ночью, на снегоход можно установить освещение (фары). Это повысит функциональность устройства и комфорт при передвижении.
Заключение
Из-за того, что большинство людей, не имеет навыков самостоятельного изготовления каких-либо конструкций, они считают, что собрать снегоход своими руками довольно сложно. А если и удастся соорудить что-то похожее на снегоход, то он вряд ли поедет, а если и поедет, то очень скоро остановится. А похожим он будет вовсе не на снегоход, а на груду собранных вместе запасных частей. К счастью это не так и при должном подходе и уровню фантазии можно собрать подобную конструкцию из подручных средств, которых хоть «пруд пруди» в любом гараже. А если имеется хоть какой опыт работы с этими запасными и подручными материалами, то задача упрощается вовсе. Здесь уже начинает действовать принцип желания и если его нет, то вряд ли удастся что-либо собрать вообще, не говоря уже о снегоходе.
То, что проблема актуальная в наше время, это не просто утверждение, а убеждение, основанное на проблемах сегодняшнего дня. К большому сожалению, государство не идет на встречу широким слоям потребителей, а взяло курс на производство только дорогостоящей техники, предназначенной для реализации потребителю с деньгами.